In this blog, we’ll explore the different types of sliding door floor guides, their features and benefits, and the best applications for each.
1. Wedge Guides

Features & Benefits:
• Made of durable nylon with a wedge-shaped design.
• The most common type used in our traditional cavity sliding doors.
• Screwed to the split jambs at the bottom of the cavity slider.
• Adjustable up or down to ensure a secure fit with the door panel.
• Quick and easy to install as no routing or rebating is required on the door.
Best Applications:
• Standard cavity sliding doors.
• Ideal for projects requiring fast and hassle-free installation.
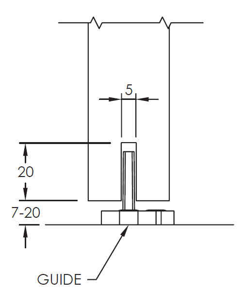
2. T Guide (Saw-Cut Guide)

Features & Benefits:
• Made from nylon with a T-shaped design.
• Mounted centrally under the door panel.
• Requires a saw-cut groove at the bottom of the door panel for correct engagement.
• Provides a more discreet guiding mechanism compared to wedge guides.
Best Applications:
• Internal cavity sliding doors.
• Situations where a seamless look is preferred.
• Surface sliding panels where there’s no pocket door jambs to screw wedge guides to.
3. Offset T Guide

Features & Benefits:
• Made of steel for increased durability.
• Mounted to skirting boards or walls for face-of-wall sliding door applications.
• Can also be mounted to the side of the door panel for stacking door systems.
• Requires a saw-cut groove to the bottom of the door panel.
Best Applications:
• Face-of-wall sliding doors.
• Stacking telescopic sliding doors.
• Projects requiring robust guiding solutions.
4. Roller Guide & Channel

Features & Benefits:
• The smoothest and quietest guiding option.
• A U-shaped aluminium channel with a nylon sleeve insert is rebated into the bottom of the door panel.
• A roller guide is mounted centrally under the door for precision movement.
• Provides superior durability and stability.
Best Applications:
• High-end residential and commercial sliding doors.
• Projects requiring ultra-smooth and quiet operation.
• Best paired with our concealed sliding door track system for unobtrusive functionality and a seamless aesthetic.
5. Offset Roller Guide & Channel

Features & Benefits:
• Made of steel with a precision bearing roller for smooth operation.
• Mounted to skirting boards or walls for face-of-wall sliding doors.
• Can also be mounted to the side of the door panel for stacking door applications.
• Paired with a U-shaped aluminium channel with a nylon sleeve insert, which is rebated into the bottom of the door panel.
Best Applications:
• Face-of-wall sliding doors.
• Stacking telescopic door systems.
• Heavy-duty applications requiring enhanced stability and movement control.
6. Commercial Door Floor Guide

Features & Benefits:
• Designed with a double rubber guide for durability.
• Best suited to commercial applications.
• Works well with auto sliding doors and aluminium-framed doors.
• Suitable for custom sliding door solutions.
Best Applications:
• Commercial auto sliding doors.
• Aluminium-framed sliding doors.
• Custom door applications needing robust guidance.
Conclusion
Choosing the right floor guide is essential for ensuring smooth operation, longevity, and the best user experience for your interior sliding doors. Whether you need a simple and easy-to-install wedge guide, a precision-engineered roller guide, or a heavy-duty commercial guide, there’s a solution tailored to your needs.
If you need assistance selecting the perfect sliding door guide for your project, get in touch with our team at Triline Door Solutions—we’re here to help!